高压线束设计,就是将整车动力电池包和各高压电器件按照各自的工作原理特性及相互间的内在关联,用高压导线连接起来所构成的一个整体。
由于电动汽车的结构形式、高压电气设备的数量、安装位置、接线方式不同,高压线束的最终输出,即高压线束图纸也会存在或多或少的差异,但高压线束的设计原则和功能要求是大致相当的,高压线束的设计流程,具体到输入/输出内容物也是类似的。
【高压线束设计原则】
高压线束设计的一般原则概括起来有如下几点:
(1) 高压线束的设计需要完整且正确地实现高压电气系统地功能;
(2) 高压线束的设计需要根据不同车型的需要,进行合并或分段;
(3) 高压线束的设计需要根据所处工作环境及空间布置的不同,选择合理且安全的保护层和固定方式;
(4) 高压线束的设计需要对量产零件的生产质量、制造工艺等进行提前预判,避免出现因设计原因件制造工艺复杂化;
(5) 高压线束的设计需要尽量控制高压导线的使用量,有意识控制零件成本。
高压线束设计的功能/性能要求:
高压线束开发流程
高压线束开发的流程和整车线束开发流程类似,并跟随整车线束开发流程。
整车开发流程是界定一辆汽车从概念设计经过产品设计、工程设计到制造,最后转化为商品的整个过程中各业务部门责任和活动的描述。整车产品开发流程也是构建汽车研发体系的关键核心,直接体现研发模式的思想。
线束作为隶属于整车的零部件,其开发设计流程自然也隶属于整车开发设计流程,主机厂的线束开发设计流程是在整车设计开发流程的框架内,遵循整车开发过程中若干重要时间节点最终形成的。
对于线束供应商而言,其内部的线束开发流程也应服从、服务于主机厂的线束开发流程。追本溯源来看,我们首先需要了解整车开发设计流程,将线束开发所需的输入需求和产出物与之匹配,最终形成线束零件的开发设计流程。
下面将通过向大家介绍几个耳熟能详的车企的项目流程,使大家对整车开发设计流程有个初步的概念和了解。

大众集团整车开发流程 总览
德国大众对于全新车型的开发流程如上图所示,整个项目划分的节点多且细,其中关键节点分比为为:PF项目确认、BF认可、LF批量许可、0s零批量生产以及SOP批量生产。
其中“PF项目确认“是规划认可,是整车开发的首个关键节点,它代表集团对整车项目允许投入批量生产制造的最终决定。”PF项目确认“节点后,零部件供应商就可以开始规划机器设备,设计工装夹具了。
“BF认可“节点意味着,所有零部件供应商可以进行开模,相当于实物零件的制造启动指令。当项目进展到这个时间点,说明高额资金投入开始启动,主机厂和供应商开始采购生产制造设备,并针对完成审查的零件数据启动批量模具制造。
“LF批量许可“节点的主要作用是确认项目后续流程及零件可用性和质量是否能够保障生产启动计划。
“0s零批量生产“节点表示在批量生产条件下,按计划的批量生产速度节拍进行尝试性生产,以便发现早期零件及制造问题。
“SOP批量投产“节点表示基于市场流通数额的批量生产阶段正式开始。
从上述车企的整车开发流程可简化为如下价格大阶段。

整车开发流程几大阶段
01架构阶段
架构开发是整车开发过程的先导过程,一般由架构开发启动(A4)、架构策略意图确定(A3)、架构方案批准(A2)、架构开发完成(A1),共四个部分组成。
02战略阶段
产品战略阶段是产品型谱向产品项目的转化阶段。在这个阶段,需要完成公司对原有产品型谱和未来产品战略的再平衡,决定是否启动产品项目的开发工作。这一阶段的工作重点是更为深入地分析产品在产品型谱中的定位。产品项目需要达到的边界条件,比如销量、投资、成本、产品特征、开发周期、赢利能力等。产品战略阶段分别为战略准备(G10)、战略立项(G9)和项目启动(G8)。
03概念阶段
概念阶段是在产品战略明确并且可行性得到批准的基础上,完成产品项目方案的开发。这些方案包括动力总成的方案、整车全尺寸主题模型、关键零部件的设计、整车的物料成本、制造规划方案、产品质量目标等等。概念阶段的主要工作是根据产品项目任务书设定的边界条件、细化市场、造型、工程和制造的需求,识别项目中的冲突。
04开发阶段
开发阶段是产品概念的实现阶段,通过产品工程、制造工程、前期质保和采购的同步工作完成产品概念的早期验证,最终完成产品图纸的设计工作。开发阶段的主要交付是发布经验证的表面数据,以支持产品工程发布最终面向制造的工程数据和图纸。同时工程的第一辆工程样车造车完成,以生产为目的的整车装配工艺发布完成。
05产品及生产成熟阶段
主要是完成产品本身的设计有效性验证,同时推动零部件和整车达到制造质量成熟的状态,实现产品的批量生产制造。产品及生产成熟阶段包括开发和制造批量生产工装模具;验证产品是否符合主机厂所有的规定项目;生产样车制造和验证,进行 100%零部件和工艺的验证;确认工艺装备、检验生产制造的过程能力,制造符合相关阶段要求的产品。
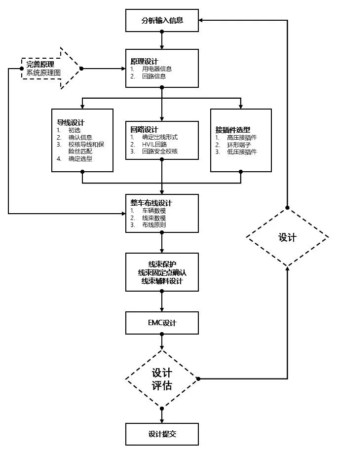
将和线束零件开发流程中的关键节点单独拎出来,形成简明扼要的流程图,即如图所示。

高压线束设计输入
高压线束零件的设计输入包括但不仅限于,整车项目的开发时间进度、车型装备定义及技术描述、整车零部件数据、整车电气原理图和整车试验计划等。输入信息范围是否齐全,输入信息的质量是否好,输入信息如有变更的话,信息沟通是否通常,都会对高压线束设计的最终输出产生影响。
01装备定义及技术描述
车型装备定义,指的是同一品牌或同一家族的车型可以分为基本型、舒适性、豪华型和旗舰版等不同类型。对于高压线束系统而言,同一家族车型的电动车是否区分长轴版本和短轴版本,电池容量是否区分标准续航和长续航、车辆动力系统是单电机还是双电机等,都会对高压线束系统的设计开发产生影响。
因此车型装备定义及技术描述,对于高压线束的设计是必不可缺的重要输入。

特斯拉官网的定制车型页面
02整车环境/零部件数据
整车环境数据指的是线束布线时所需要的周边环境数据,包括当不仅限于钣金、内饰、管路、电器件等。这些零部件的数据会对线束走线设计产生影响和限制。
高压线束布置路径受周边环境数据影响,当其走线的最终目标则是分布在整车范围内的高压部件,尤其需要关注高压线束与电气部件的对接形态。因此,高压部件安装位置的确认,它的优先级从某种程度上来说,略高于整车环境数据的收集。
需要注意的是,不论是周边零部件还是高压部件,它们的数据绝非是一成不变的,环境数据和零部件开发的成熟度会随着整车开发进程的推进而不断提高,高压线束的布置也需要随之不断调整,直至得出最优解。

高压部件数据及周围环境数据 示意
03高压部件电气信息
作为向高压部件传递能量和信号的重要媒介,高压线束需要收集所有高压部件的电气信息来确定在自身零部件的选型。高压部件的电气信息包括但不仅限于如下内容:
1)高压部件负载类型,是感性负载还是阻性负载;
2)高压部件功率,包括额定功率和峰值功率;
3)高压部件的电流,包括稳态电流、峰值电流、瞬时电流和电流强度即电流波形(平稳,脉冲,频率等);
4)高压部件连接器板端插针定义,包括电元、接地、信号等;
5)高压部件自身布置要求,包括本身有无保险丝保护,信号传输是否有特殊要求,是否有屏蔽要求,部件布置位置是否有特殊要求等;
6)高压部件是否是从其他现有车型上沿用过来的零件,是否有变化点;
7)高压部件控制逻辑,继电器需求等;
8)高压部件需要满足的特殊法规要求。